খবর
পণ্য

কেন আমি আমার সিস্টেমের জন্য একটি বিএসপি হাইড্রোলিক অ্যাডাপ্টার বেছে নেব?

আমি যখন প্রথম হাইড্রোলিক সিস্টেমগুলির সাথে কাজ শুরু করি তখন আমি প্রায়শই ভাবতাম যে কীভাবে বিভিন্ন উপাদানগুলির মধ্যে একটি নির্ভরযোগ্য সংযোগ নিশ্চিত করা যায়। আমি যখন একটি এর মান আবিষ্কার করেছিবিএসপি হাইড্রোলিক অ্যাডাপ্টার। এই অ্যাডাপ্টারগুলি কেবল সংযোগকারী নয় - এগুলি প্রয়োজনীয় সরঞ্জাম যা হাইড্রোলিক সিস্টেমে দক্ষতা, সুরক্ষা এবং স্থায়িত্বের গ্যারান্টি দেয়। উচ্চ-চাপ তরলগুলির সাথে যে কোনও ব্যক্তির জন্য, ডান অ্যাডাপ্টার সিস্টেমের পারফরম্যান্সে একটি গুরুত্বপূর্ণ পার্থক্য আনতে পারে। এই নিবন্ধে, আমি ফাংশন, কার্যকারিতা এবং এর গুরুত্ব ব্যাখ্যা করববিএসপি হাইড্রোলিক অ্যাডাপ্টার, আমার ব্যক্তিগত অভিজ্ঞতা এবং পেশাদার অন্তর্দৃষ্টি ভাগ করে নেওয়া।

BSP Hydraulic Adapter

বিএসপি হাইড্রোলিক অ্যাডাপ্টারের কাজ কী?

বিএসপি হাইড্রোলিক অ্যাডাপ্টারব্রিটিশ স্ট্যান্ডার্ড পাইপ থ্রেডগুলির সাথে পায়ের পাতার মোজাবিশেষ, পাইপ এবং অন্যান্য জলবাহী উপাদানগুলির মধ্যে একটি সেতু হিসাবে কাজ করে। এর প্রাথমিক ফাংশনগুলির মধ্যে রয়েছে:

  • বিভিন্ন থ্রেড প্রকার বা আকারের সাথে উপাদানগুলি সংযুক্ত করা।

  • উচ্চ চাপের মধ্যে ফাঁস মুক্ত হাইড্রোলিক সিস্টেম নিশ্চিত করা।

  • সহজ সমাবেশ এবং রক্ষণাবেক্ষণের সুবিধার্থে।

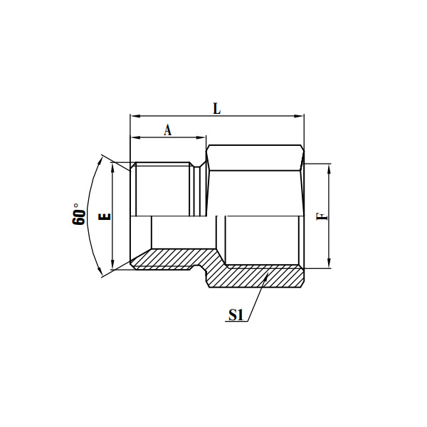
বৈশিষ্ট্য বর্ণনা
থ্রেড স্ট্যান্ডার্ড বিএসপি (ব্রিটিশ স্ট্যান্ডার্ড পাইপ)
উপাদান ইস্পাত, স্টেইনলেস স্টিল বা ব্রাস
চাপ রেটিং 6000 পিএসআই পর্যন্ত (মডেলের উপর নির্ভর করে)
আবেদন শিল্প যন্ত্রপাতি, নির্মাণ, সামুদ্রিক

আমি নিজেকে জিজ্ঞাসা করেছি,"একটি বিএসপি হাইড্রোলিক অ্যাডাপ্টার কীভাবে সিস্টেমের দক্ষতা উন্নত করে?"উত্তরটি পরিষ্কার: একটি সুনির্দিষ্ট এবং সুরক্ষিত সংযোগ সরবরাহ করে এটি তরল ফুটো প্রতিরোধ করে, রক্ষণাবেক্ষণ ব্যয় হ্রাস করে এবং সরঞ্জামের জীবনকে দীর্ঘায়িত করে। আমার অভিজ্ঞতায়, মানের অ্যাডাপ্টারগুলিতে সজ্জিত সিস্টেমগুলি আরও নির্ভরযোগ্য এবং ধারাবাহিকভাবে কাজ করে।

কীভাবে বিএসপি হাইড্রোলিক অ্যাডাপ্টার ব্যবহার করে কার্যকারিতা প্রভাবিত করে?

দ্যব্যবহার প্রভাবএকটি বিএসপি হাইড্রোলিক অ্যাডাপ্টারের তাত্ক্ষণিকভাবে লক্ষণীয়। এটি সিস্টেমের স্থিতিশীলতা বাড়ায়, ডাউনটাইম হ্রাস করে এবং উচ্চ-চাপ অপারেশনগুলিকে সমর্থন করে। এই অ্যাডাপ্টারগুলিকে আমার হাইড্রোলিক সেটআপে সংহত করার পরে আমি যা পর্যবেক্ষণ করেছি তা এখানে:

  • উন্নত সিলিং পারফরম্যান্স ফুটো হ্রাস করে।

  • দ্রুত ইনস্টলেশন এবং সহজ রক্ষণাবেক্ষণ সময় সাশ্রয়।

  • বর্ধিত সামঞ্জস্যতা নমনীয় সিস্টেম ডিজাইনের জন্য অনুমতি দেয়।

সুবিধার একটি সাধারণ চেকলিস্ট:

  1. ফাঁস-প্রুফ সংযোগগুলি।

  2. উচ্চ চাপ এবং জারা প্রতিরোধ।

  3. বিভিন্ন জলবাহী উপাদানগুলির সাথে সামঞ্জস্যতা।

  4. জলবাহী সিস্টেমের বর্ধিত পরিষেবা জীবন।

তারপরে আমি নিজেকে আরও একটি গুরুত্বপূর্ণ প্রশ্ন জিজ্ঞাসা করেছি:"এই অ্যাডাপ্টারগুলি কি সমস্ত জলবাহী সিস্টেমের জন্য সত্যই সমালোচিত?"উত্তর হ্যাঁ। এমনকি ছোট জলবাহী সিস্টেমগুলি দ্বারা সরবরাহিত নির্ভরযোগ্যতা এবং সুরক্ষা থেকে উপকৃত হয়বিএসপি হাইড্রোলিক অ্যাডাপ্টার, বিশেষত শিল্প ও ভারী যন্ত্রপাতি অ্যাপ্লিকেশনগুলিতে।

হাইড্রোলিক সিস্টেমগুলিতে কেন বিএসপি হাইড্রোলিক অ্যাডাপ্টার গুরুত্বপূর্ণ?

গুরুত্ববিএসপি হাইড্রোলিক অ্যাডাপ্টারঅত্যধিক ওভারস্টেট করা যায় না। যথাযথ অ্যাডাপ্টার ব্যতীত জলবাহী সিস্টেমগুলি ঝুঁকি ফাঁস, চাপ হ্রাস এবং সম্ভাব্য সিস্টেম ব্যর্থতা। আমার পেশাদার অভিজ্ঞতা থেকে, প্রতিটি উচ্চ-মানের জলবাহী ইনস্টলেশন অ্যাডাপ্টারের উপর নির্ভর করে:

  • চরম পরিস্থিতিতে অপারেশনাল অখণ্ডতা বজায় রাখুন।

  • দুর্ঘটনাজনিত তরল স্রাব প্রতিরোধ করে কর্মীদের সুরক্ষা নিশ্চিত করুন।

  • সিস্টেমের দক্ষতা অনুকূল করুন এবং রক্ষণাবেক্ষণ ব্যয় হ্রাস করুন।

উপসংহারে, আপনি যদি জলবাহী উপাদানগুলি সংযোগের জন্য একটি শক্তিশালী, নির্ভরযোগ্য এবং দক্ষ সমাধান খুঁজছেন, একটিবিএসপি হাইড্রোলিক অ্যাডাপ্টারঅপরিহার্য। এটি সিস্টেমের পারফরম্যান্সে একটি বড় প্রভাব সহ একটি ছোট উপাদান। আমি যেমন বিশ্বস্ত সরবরাহকারীদের কাছ থেকে বিকল্পগুলি অন্বেষণ করার পরামর্শ দিচ্ছিনিংবো ওয়াইফং হাইড্রোলিক যন্ত্রপাতি কো।, লিমিটেড।, যারা বিভিন্ন শিল্প প্রয়োজনের জন্য উপযুক্ত পেশাদার-গ্রেড অ্যাডাপ্টার সরবরাহ করে।

অনুসন্ধান, পণ্যের বিশদ, বা একটি উদ্ধৃতি অনুরোধ করার জন্য, দয়া করেযোগাযোগনিংবো ওয়াইফং হাইড্রোলিক যন্ত্রপাতি কো।, লিমিটেড।আজ।

সম্পর্কিত খবর
আমাকে একটি বার্তা ছেড়ে দিন
X
আমরা আপনাকে একটি ভাল ব্রাউজিং অভিজ্ঞতা দিতে, সাইটের ট্র্যাফিক বিশ্লেষণ করতে এবং সামগ্রী ব্যক্তিগতকৃত করতে কুকিজ ব্যবহার করি। এই সাইটটি ব্যবহার করে, আপনি আমাদের কুকিজ ব্যবহারে সম্মত হন। গোপনীয়তা নীতি
প্রত্যাখ্যান করুন গ্রহণ করুন